技术交流

管道非开挖修复技术和工法优选

发布时间:2023-09-18 发布者:力程建设工程 点击量:

我国城镇地下排水管网规模巨大,总长度已突破120万公里,是城市重要的地下生命线。党和国家领导人高度重视市政管网安全,多部委相继出台政策,对市政管网灾害防控和智能运维提出重要批示与指导意见。

 

 目前,在市政管网建设与运行维护中,已逐渐采用非开挖修复技术来避免城市道路“开膛破肚”现象的发生,从而减少对城市交通和周围居民生活的影响。非开挖是指采用不开挖或微分开挖的各类技术,敷设、修复和更换地下管线的技术总称。非开挖修复技术一般指的是对整段管道的更新或更换,不包含维抢修。

近几年,国家和行业就管道的非开完修复已经出台了相关的技术标准。目前,管道的非开挖修复方法主要有:

连续穿插法

连续穿插法(Sliplining)是一种将连续内衬管在直径保持不变的情况下置入原有管道内形成内衬的管道更新工法,它是一种用于管道结构性和非结构性非开挖修复的最简单的方法。

 

 

优点:

●作为一种修复技术,穿插法不需要投资购置新的设备。

●顶管/定向钻/等各类能提供拉力的非开挖设备都可以应用于穿插法修复中。

●穿插法是修复压力或者重力管道最简单的方法。

●穿插法可用于结构或者非结构修复的目的。

●在管道工作状况下(不停输),可同时进行管道修复。

技术瓶颈:

●绝大多数情况下都需要灌浆。

●穿插法最大的缺点是导致管道过流面积的减小。

●入口部分需要局部开挖满足PE管道的最小曲率。

●修复后管道的性能受到PE管材质的限制。

短管穿插法

短管穿插法属于非连续穿插法,是一种将非连续的小于更新管段长度的短管在插入原有管道的过程中连接形成内衬的管道更新工法。

 

紧密贴合内衬法

紧密贴合内衬法是一种将内衬管置入原有管道之前减小其截面以方便置入,置入后恢复截面,使其外表面与原有管道内壁紧密贴合的管道更新工法。

 

 

新的紧密贴合法:热塑成型内衬法。衬管现场预热软化后牵引置入待修管道内部,通过加热加压热塑成型,冷却后形成紧贴于原管道内壁。

 

原位固化法

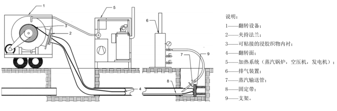
原位固化法(Cured-in-Place Pipe-CIPP)是指采用翻转或牵拉方式将浸渍树脂的软管置入原有管道内,固化后形成管道内衬的修复方法。按照软管进入原有管道的方式不同,可将CIPP分为翻转式和拉入式两种工艺。

 

目前该技术已经在世界40多个国家和地区得到广泛应用,尤其在欧美等发达国家更为普及,是现今所有非开挖管道修复工艺中使用最广泛的方法。软管的固化工艺目前包括:热水固化法、蒸汽固化法和紫外线固化法。原位固化法不需灌浆,施工速度快、工期短,修复后形成连续内衬管,表面光滑,有利于减小流量损失。

CIPP常用的内衬管材料、固化方式和修复类型:

 

粘结软管内衬法

粘贴软管内衬法是一种将增强软管作为内衬管置入原有管道并与其粘结形成具有抵抗自身坍塌能力内衬的更新工法。

 

 

螺旋缠绕内衬法

●通过缠绕机将带状型材在旧管道内螺旋旋转缠绕成一条新管。

●带状型材两边的公母锁扣在螺旋旋转中互锁,使新管连续无缝。

●当螺旋管缠绕完毕后,通过拉动预埋的钢线,将次级锁扣拉断,让新管开始径向扩张,紧紧地贴在原有管道的内壁上。

 

管片内衬法

管片内衬法是一种将预制管片粘结在原有管道内壁形成内衬的管道更新工法。

 

 

垫衬法

垫衬法是一种将背部带有锚固键的塑料内层置入原有管道,并在环状空间注入水泥砂浆,使锚固键永久锚固在具有结构强度的水泥砂浆层中形成内衬的管道更新工法。

 

耐腐蚀性能

垫衬为修复内衬,它是一种高分子树脂材料,具有良好的耐酸碱性及耐化学腐蚀性。

 

提高抗压性能(起到加固作用)

采用的高徽浆灌浆料为特制的材料,固化后强度高。与原管道结构形成一体,共同受力。且在修复同时,灌浆料可进入原管壁破损等缺陷部位,对原管道起到结构加固补强作用。

喷涂聚合物内衬法

喷涂聚合物内衬法通过在管道内壁喷涂一定厚度的聚合物形成内衬。喷涂内衬可起到防腐防渗漏以及结构性修复的作用。比较有代表性的离心喷涂方法,通过压缩空气驱动的高速旋喷头,材料在离心力的作用下均匀浇筑到管道内壁。

 

该修复工艺具有操作简单、快速凝固、修复后使用年限长等优点,主要用于市政排水管道、箱涵、检查井等非开挖修复。

 

穿插软管内衬法

穿插软管内衬法使用圆织纤维增强的塑料软管,在安装后形成一个永久管道结构体或在流体压力下形成圆形,内衬软管与原有管道无粘结关系。

 

将能够承受内压的软管折叠成U型后,穿入待修复母管,最后通过充气或者充水撑开内衬管。内衬管可折叠,可卷绕,耐压力,耐化学性,外内压状况下可保持圆筒状。

 

从大处着眼,从细节入手。工法没有最好的,只有最合适的。该工法优选的6个要点:

●管道检测和预处理是应用非开挖修复技术的前提。

●绝大多数非开挖修复都需要进行管道的预处理。

●收集和了解拟修复管道的类型、铺设时间、围土类型、地表环境变化等。

●对管道的破损情况和原因进行一定的分析。

●稳定的埋地管道是一个管土联合的承载系统,非开挖管道修复技术只是修复管道系统。

●目前还没有一项非开挖修复技术能适用于所有管道。

 

伴随着社会高速发展和科技不断进步,很多工法在一个时期内虽然相对完善,但又有各自的局限性。如何对每一种工法善加利用,甚至加以改进,这需要我们在实际的施工中不断去探索、创新。

版权所有 四川力程建设工程有限责任公司 蜀ICP备17020901号-1 Copyright 2008-2016 ALL Rights Reserved 川公网安备51010502014784

今网科技 成都网站建设: